Razdelilnik izdelkov šteje signale iz stroja, ter jih razdeluje v škatle.
Nastavite število škatel, njihov položaj (kot vrtenja drče) ter število izdelkov v posamezno škatlo.
Nastavite lahko tudi zakasnitveni čas, ki ga izdelek potrebuje da (po traku) pride do Duck enote,
prav tako je možno ustaviti nalagalni transportni trak med gibanjem razdelilika od ene škatle do druge.



Struktura dozirnika
• Dozirnik opremljen z neodvisnim podnožjem na kolesih z zavoro
• Po višini nastavljiva teleskopska vrtljiva opora drče
• Nosilnost: največ 2 kg na posamezen izdelek
• Možen kot vrtenja drče: 360°
Značilnosti dozirnika
• Moč motorja: 0,06 kW
• Hitrost vrtenja drče: 360° v 6,6 sekundah
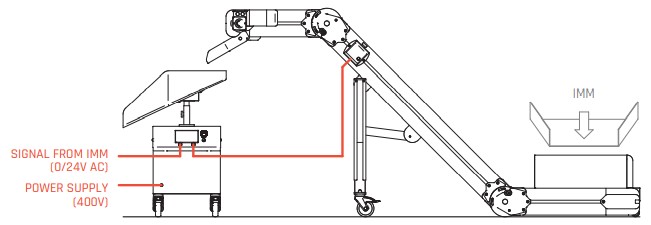
• Napetost 400 V, 50 Hz
Način polnjenja
• Nadzorna plošča razdelilnika upravlja delovanje nakladalnega transporterja
• Logika polnjenja posod omogoča dva načina:
- štetje ciklov proizvedenih izdelkov IMM glede na signal iz stroja
- nastavitev časa v katerem prihajajo izdelki
• Položaje polnjenja je mogoče določiti na naslednje načine:
- samodejno > deljenje kota s številom nastavljenih posod
- ročno > ročno nastavite točke razkladanja (nastavijo in shranijo se koti vrtenja drče za vsako škatlo)
• Funkcija raztrosa v škatli: razdelilnik je mogoče nastaviti tako, da drča minimalno spreminja kot in se izdelki odlagajo na treh različnih mestih znotraj iste škatle, da se doseže enakomerno polnjenje škatle.
• Ko je dosežena nastavljena vrednost polnjenja (št. kosov v škatli), se aktivira menjava zabojnika:
- nakladalni transporter nadaljuje z delovanjem za čas, ki je vnaprej nastavljen z določenim parametrom,
ki zadostuje za zagotovitev, da so vsi kosi, ki so prisotni na transporterju, razloženi v zabojnik;
- nakladalni transporter se ustavi, drča se zavrti do naslednjega zabojnika in se ustavi
- nakladalni transporter se ponovno zažene in cikel se znova začne
• Na koncu faze polnjenja, ko so vsi zabojniki polni:
- standardni način > dozator ustavi delovni cikel in sproži
alarm, medtem ko čaka na ročno menjavo škatel upravljavca
- neprekinjen način > dozator ponastavi vrednost polnjenja vseh
zabojnikov, se vrne na prvi zabojnik in cikel se znova začne
Če je razdeljevalec E-DUCK kombiniran z obstoječim transporterjem, mora biti transporter opremljen s posebno nadzorno ploščo MB za upravljanje zaustavitve transporterja med menjavo škatel. To prepečuje, da med gibanjem drče iz ene pozicije v drugo izdelki ne padejo med dve škatli.
Razdelilnik izdelkov vgrajen na konec transportnega traku


Struktura transporterja
• Dozirnik N-DUCK je nameščen na transporterjih z ravno zgornjo površino z minimalno dolžino 600 mm
• Zaradi dimenzijskih razlogov je mogoče dozirnik N-DUCK namestiti le na transporterje s širino najmanj 240 mm in največ 375 mm
Značilnosti dozirnika
• Območje vrtenja drče: 240° (± 120° glede na vzdolžno os transporterja)
• Hitrost vrtenja drče: 240° v približno 3 sekundah.
• Enota z reduktorjem in motorjem dozirnika je opremljena s predhodno ožičenim priključnim kompletom za povezavo z nadzorno ploščo
Način polnjenja
• Namenska nadzorna plošča upravlja delovanje dozatorja in je nameščena na tekočem traku, na katerega se nanaša
• Logika polnjenja posod omogoča dva načina:
- štetje ciklov oblikovanih izdelkov IMM (največ 4000 impulzov na škatlo)
- nastavitev časa polnjenja posode
• Položaje polnjenja je mogoče določiti na naslednje načine:
- samodejno > deljenje kota s številom nastavljenih posod
- ročno > ročno nastavitev točk razkladanja
• Ko je dosežena nastavljena vrednost polnjenja, se menjava zabojnika
aktivira:
- nakladalni transporter nadaljuje z delovanjem za čas, ki je vnaprej nastavljen z
določenim parametrom, ki zadostuje za zagotovitev, da so vsi kosi, ki so prisotni na
transporterju, razloženi v zabojnik
- nakladalni transporter se ustavi, drča se zavrti do naslednjega zabojnika
in se ustavi
- nakladalni transporter se ponovno zažene in cikel se znova začne
• Na koncu faze polnjenja, ko so vsi zabojniki polni:
- standardni način > razdelilnik ustavi delovni cikel in sproži
alarm, medtem ko čaka na ročno ponastavitev upravljavca (menjava polnih škatel s praznimi)
- neprekinjen način > razdelilnik ponastavi vrednost polnjenja vseh
zabojnikov, se vrne na prvi zabojnik in cikel se znova začne